技术参数
概述
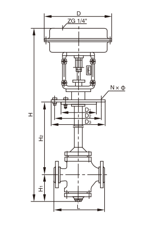
ZMXAN-D型轻小型气动薄膜低温双座调节阀是ZMAP-D的更新产品。由多弹簧可调零薄膜执行机构和长颈型低温双座调节阀组成,高度和重量比普通双座调节阀轻小。长颈型上阀盖可保证密封填料在允许温度范围内工作。适用于流量大、压差大,泄漏要求不严格的低温气体、液体等介质的调节控制。
概述
ZMXAN-D型轻小型气动薄膜低温双座调节阀是ZMAP-D的更新产品。由多弹簧可调零薄膜执行机构和长颈型低温双座调节阀组成,高度和重量比普通双座调节阀轻小。长颈型上阀盖可保证密封填料在允许温度范围内工作。适用于流量大、压差大,泄漏要求不严格的低温气体、液体等介质的调节控制。